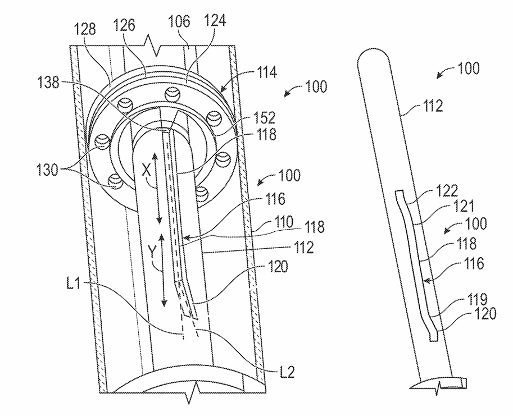
通用汽车新专利展示自适应减震器机械调节技术,通过导杆导向槽结构实现悬架系统优化,提升驾驶适应性。
傅利叶智能在CES展会上推出具身智能机器人GR-3,搭载多模态交互系统,实现自然人机互动,展现情感陪伴与运动控制能力,彰显全球化布局。
因克斯在CES 2026展会上推出三款人形机器人关键零部件,覆盖灵巧手、关节模组与智能电池,推动核心零部件标准化进程。其2025年关节模组出货量突破十万台,展现技术自主化与规模化能力,助力人形机器人普及。